Наші оцинковані профілі для сонячних панелей — надійне рішення для приватних будинків і малих комерційних об’єктів: довговічні, стійкі до корозії та зручні в монтажі.

Пропонуємо повний комплекс комплектуючих для монтажу та кріплення сонячних батарей:

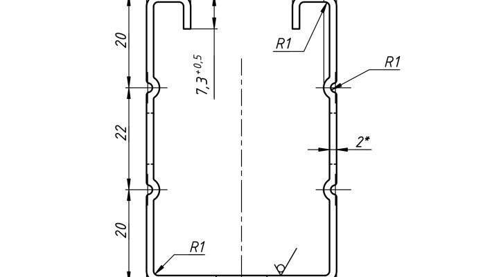
Оцинковані С-профілі «Ловекс-К» виготовляються зі сталі DX51D/S350GD з цинковим покриттям до Zn 275 г/м². Типові довжини — 3 м та 6 м, доступна порізка під розмір. Перфорація уніфікована під кріплення strut, що дозволяє монтувати конструкції без зварювання, швидко та повторювано. Профілі застосовуються для дахових і наземних СЕС, сумісні з більшістю притисків і з’єднувачів, забезпечують надійне кріплення модулів на бетон, метал чи дерев’яну основу.
Для гуртових замовлень надаємо підбір комплекту (притиски, пружинні гайки, сплайси, кутники, анкери, EPDM-ущільнення) та інженерний супровід — від підбору перетину до консультацій з розрахунків за Eurocode. При замовленні від 1000 м.п. діє безкоштовна доставка по Києву та області.
С-профіль є універсальним елементом для побудови несучих рам і лінійних напрямних під фотомодулі. Завдяки перфорації, яка повторюється з кроком, монтажники вільні у виборі точок кріплення та можуть компенсувати нерівності основи. Геометрія профілю зберігає жорсткість у вертикальній та горизонтальній площинах, зменшуючи прогини на довгих прольотах та покращуючи стійкість до локальних навантажень, зокрема поривів вітру та снігових навантажень.
Щоб зменшити час інсталяції та ризики помилок, пропонуємо типові набори кріплень під С-профілі 41×21 та 41×41. Усі позиції протестовані на сумісність і поставляються у потрібній кількості з запасом під конкретний проєкт.
«Ловекс-К» — сервісний металоцентр повного циклу: від розмотування рулонної сталі до профілювання та промислового перфорування. Високоточні лінії забезпечують повторюваність геометрії, а інспекція на кожному етапі мінімізує відхилення. Застосування сталі DX51D/S350GD у поєднанні з оцинковкою до Z275 підвищує опір корозії навіть за умов частих опадів, соляних аерозолів або пилового середовища.
Для розрахунку несучої здатності застосовуємо підходи Eurocode. Рекомендуємо враховувати вітрові та снігові райони, тип основи, висоту будівлі та крок опор. Правильний вибір перетину профілю, довжини прольоту та типу кріплення напряму впливає на жорсткість системи і ресурс експлуатації.
Працюємо по всій Україні: відвантаження зі складів у Київській області, Львові та Одесі. По Києву та області — власний автотранспорт; по країні — перевізники. Термін комплектації стандартних позицій зазвичай складає 1–3 робочі дні. Для великих партій узгоджуємо графік та індивідуальні умови.
Залиште запит — підготуємо технічну пропозицію з підбором перетину, списком кріплень та графіком постачання під ваші строки монтажу. Працюємо з приватними клієнтами, інсталяторами та девелоперами комерційних СЕС.